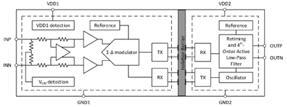
高可靠性隔离电流采样放大器
NSi1300是输出与输出基于NOVOSENSE电容隔离技术的隔离电流采样运放。此系列产品具有线性差分输入信号±50mV(满量程±64mV)或±250mV范围(满量程±320mV)。故障安全功能包括输入共模过压检测和VDD1缺失检测,简化了系统设计和诊断。NSI1300的固定增益为8.2/41,并提供差分模拟输入。低失调和增益漂移确保了整个温度范围内的精度。高共模瞬变抗扰度(CMTI)可确保即使在存在大功率开关的情况下(例如在电机控制应用中),该设备也能够提供精准而可靠的测量结果。

产品特性
• 更高5000Vrms绝缘电压
• ±50mV或±250mV线性输入电压范围
• 固定增益:8.2或41
• 低偏置误差和温漂:
• NSI1300D25: ±0.2mV(Max), -2~4μV/°C(Max)
• NSI1300D05: ±0.1mV(Max), -0.8~1μV/°C(Max)
• 低增益误差和温漂:
• ±0.3%(Max),±50ppm /°C(Max)
• 低非线性和温漂:
• ±0.03%(Max),±1ppm /°C(Typ)
• SNR:86dB(Typ,BW = 10kHz),72dB(Typ,BW = 100kHz)
• 带宽:310kHz(Typ)
• 高CMTI:150kV /us( Typ)
• 系统级诊断功能:
• VDD1监控
• 输入共模过压检测
• 工作温度:-40°C〜125°C
• 符合RoHS的封装:
• SOP8(300mil)
安全认证
• UL1577认证: 1分钟 5kVrms
• CQC认证:符合GB4943.1-2011
• CSA认证:组件符合5A
• VDE认证:DIN V VDE V 0884-11:2017-01
应用场景
• 分流电流监控
• 交流电机控制
• 电力和太阳能逆变器
• 不间断电源供应
• 车载充电器
功能框图
