QQ在线咨询
咨询热线
021-5766 0583
手机号
180-1627-3695
阿里旺旺

点这里给我发消息

您好!欢迎访问美镒电子(上海)有限公司,我们竭诚为您服务!

电子元器件供应和技术服务商

BOM配单 国产替代 全新原装 品牌代理 上海发货

服务咨询热线:

13122500018

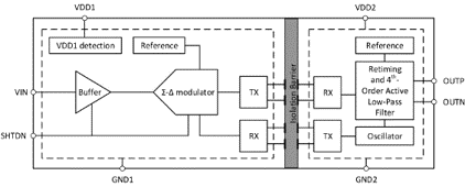
江夏NSI1311-DSWVR 高性能隔离放大器 纳芯微代理

NSi1311是一款高性能隔离放大器,基于NOVOSENSE电容隔离技术,其输出与输入分离。该器件的单端输入信号范围0.1V至2V。NSI1311的高输入阻抗使其非常适合连接到高压电阻分压器或其他具有高输出阻抗的电压信号源。该器件的固定增益为1,并提供差分模拟输出。低失调和增益漂移确保了整个温度范围内的精度。高共模瞬变抗扰度(CMTI)可确保即使在存在大功率开关的情况下(例如在电机控制应用中),该设备也能够提供精准而可靠的测量结果。故障安全功能(高侧电源电压缺失检测功能)简化了系统设计和诊断。


产品特性

• 更高5000Vrms绝缘电压                                                                                                          

• 0.1~2V线性输入电压范围

• 固定增益:1

• 低偏置误差和温漂:±1.5mV(Max), -5~30μV/°C(Max)

• 低增益误差和温漂:±0.3%(Max), ±45ppm/°C(Max)

• 低非线性和温漂:±0.04%(Max),±1ppm/°C(Typ)

• SNR:82dB(Typ, BW = 10kHz), 70dB(Typ, BW = 100kHz)

• 带宽:400kHz(Typ)

• 高CMTI:150kV/us(Typ)

• 系统级诊断功能:

     • VDD1监控

• 工作温度:-40°C〜125°C

• 符合RoHS的封装:

     • SOP8(300mil)


安全认证

• UL1577认证: 1分钟 5kVrms

• CQC认证:符合GB4943.1-2011

• CSA认证:组件符合5A

• VDE认证:DIN V VDE V 0884-11:2017-1


应用场景

•  母线电压监控

•  交流电机控制

•  电力和太阳能逆变器

•  不间断电源供应

•  车载充电器


功能框图