QQ在线咨询
咨询热线
021-5766 0583
手机号
180-1627-3695
阿里旺旺

点这里给我发消息

您好!欢迎访问美镒电子(上海)有限公司,我们竭诚为您服务!

电子元器件供应和技术服务商

BOM配单 国产替代 全新原装 品牌代理 上海发货

服务咨询热线:

13122500018

大冶NSI1300D05-DSWVR替代料 AMC1302DWVR

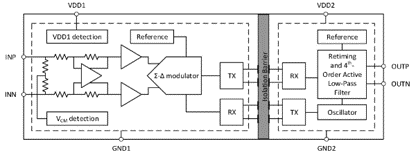
NSi1300是输出与输出基于NOVOSENSE电容隔离技术的隔离电流采样运放。此系列产品具有线性差分输入信号±50mV(满量程±64mV)或±250mV范围(满量程±320mV)。故障安全功能包括输入共模过压检测和VDD1缺失检测,简化了系统设计和诊断。NSI1300的固定增益为8.2/41,并提供差分模拟输入。低失调和增益漂移确保了整个温度范围内的精度。高共模瞬变抗扰度(CMTI)可确保即使在存在大功率开关的情况下(例如在电机控制应用中),该设备也能够提供精准而可靠的测量结果。


产品特性

• 更高5000Vrms绝缘电压                                                                                                          

• ±50mV或±250mV线性输入电压范围

• 固定增益:8.2或41

• 低偏置误差和温漂:

     • NSI1300D25: ±0.2mV(Max), -2~4μV/°C(Max)

     • NSI1300D05: ±0.1mV(Max), -0.8~1μV/°C(Max)

• 低增益误差和温漂:

     • ±0.3%(Max),±50ppm /°C(Max)

• 低非线性和温漂:

     • ±0.03%(Max),±1ppm /°C(Typ)

• SNR:86dB(Typ,BW = 10kHz),72dB(Typ,BW = 100kHz)     

• 带宽:310kHz(Typ)

• 高CMTI:150kV /us( Typ)

• 系统级诊断功能:

     • VDD1监控

     • 输入共模过压检测

• 工作温度:-40°C〜125°C

• 符合RoHS的封装:

     • SOP8(300mil)


安全认证

•  UL1577认证: 1分钟 5kVrms

•  CQC认证:符合GB4943.1-2011

•  CSA认证:组件符合5A

•  VDE认证:DIN V VDE V 0884-11:2017-01


应用场景

• 分流电流监控

• 交流电机控制

• 电力和太阳能逆变器

• 不间断电源供应

• 车载充电器


功能框图